Nejdůležitějšími výstupy projektu NAKI DF12P01OVV004 jsou metodika “Celodřevěné plátové spoje pro opravy historických konstrukcí” a památkový postup “Využití celodřevěných tesařských spojů při opravách historických konstrukcí“, které byly v roc 2016 úspěšně certifikovány MK ČR. Dokumenty jsou dostupné široké veřejnosti na těchto stránkách nebo v tištěné podobě (pouze metodika v české nebo anglické verzi, kontakt spoje@itam.cas.cz).
Celodřevěné plátové spoje pro opravy historických konstrukcí
Lapped Scarf Joints for Reconstruction of Historical Structures
Využití celodřevěných tesařských spojů při opravách historických konstrukcí
Během řešení projektu NAKI DF12P01OVV004 byly vytvořeny také další aplikované výstupy, které jsou uvedeny níže.
4x Gfun – funkční vzorek (rok 2014)
-
-
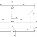
- celodřevěný plátový spoj se čtyřmi kolíky a šikmými čely FVZ-DS1-2014
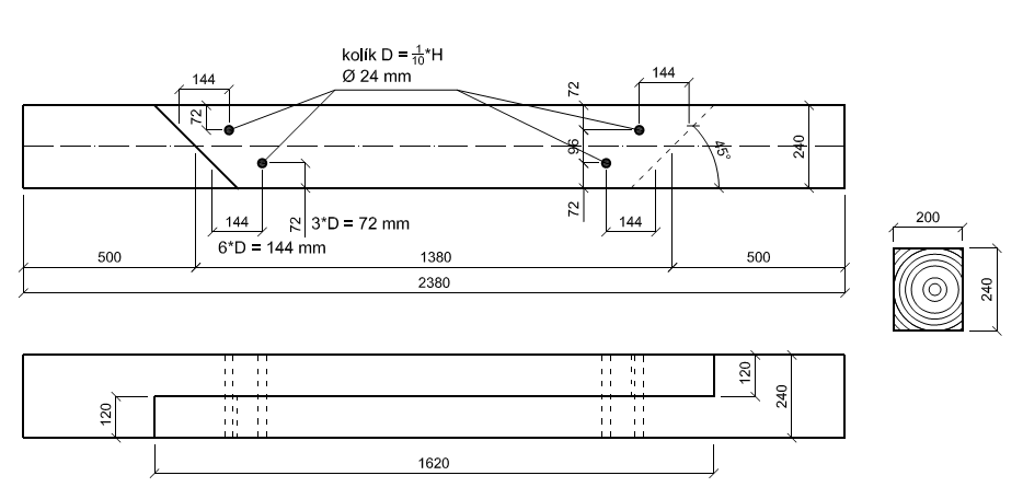
- celodřevěný plátový spoj s jedním hmoždíkem a šikmými čely FVZ-DS2-2014
- celodřevěný plátový spoj se dvěma hmoždíky a šikmými čely FVZ-DS3-2014
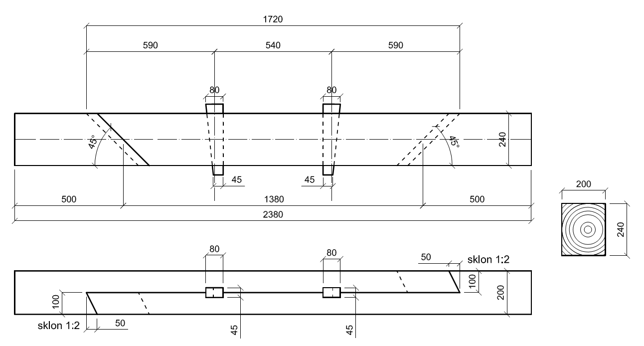
- celodřevěný plátový spoj se třemi kolíky a šikmými čely FVZ-DS4-2014
-
Důležité podmínky provádění:
Tyto spoje jsou staticky vyhovující pro použití v konstrukci, jsou ovšem limitovány konkrétními požadavky provádění, a proto zůstávají pouze funkčním vzorkem a ne konečným produktem vývoje. Před použitím spoje v konstrukci je vhodné toto konzultovat buď s autory funkčního vzorku nebo statikem zabývajícím se problematikou tesařských spojů.
- Čtyřkolíkový spoj se šikmými čely
- Čtyřkolíkový spoj
- Tříkolíkový spoj
- Tříkolíkový spoj vyrobený tradiční technologií mistrem tesařem
- Hmoždíkový spoj se šikmými čely
- Hmoždíkový spoj ná šikmá čela ještě podkosená
- Dvouhmoždíkový spoj
- Dvouhmoždíkový spoj








